很久没有做过CloudCone的VPS测评了,原因无它,该商家长期以来产品也只有三种:美国VPS、美国云服务器(SC2)、独立服务器,机房也就那么2个机房可选,所以都测评了一遍之后就没有什么可以测评的了。
不过自从9月份以来,商家的VPS已经由以前的HDD硬盘+SSD缓存,变为了纯SSD磁盘,然后在价格没涨的情况下,内存和核心数也明显给得更多,商家以前本来性价比就不错,经过近期的战略调整后,性价比看上去再次提升了很多。那么目前这内存变大、CPU变多、硬盘变好的VPS比以前究竟如何呢?
趁着这次商家的圣诞促销(详见【圣诞钜惠】CloudCone洛杉矶VPS年终大促:年付$12.99起,多核高配真香预警!)这次VPSTOP站长特地购买了一款回来,下面就给各位大佬汇报一下。

cloudcone是quadcone(成立于2012年)旗下的品牌,成立于2017年,于2024年2月被Edge Centres集团收购,被收购后,目前与quadranet、multacom机房等属于同一家母公司。提供基于KVM虚拟化的VPS产品以及独立服务器租用,数据中心在洛杉矶multacom机房(MC机房),产品支持按小时计费,可以随时自行删除机器,余额退回账户,支持支付宝等付款方式,价格便宜。国外售卖MC机房VPS的商家不多,支持按小时计费的MC机房VPS的就更少了。
官方网站:https://www.cloudcone.com
一、硬件信息

这个小鸡是3核心,CPU为E5-2697 v2,和以往的老款套餐CPU一致,主频是2.7GHz,2G内存,26.5GB SSD的配置,1Gbps带宽,流量限制为4TB,从磁盘上来看,IO提高了不止一星半点。下面看看FIO读写检测:

这磁盘已经和商家的高端小鸡系列,SC2云服务器基本上差不多了,非常good。unixbench跑分我们再上一个:

1857.4分,比我买的狗云的10核64G,也是SSD磁盘的独服的跑分还高。
下面再看一下网络情况。


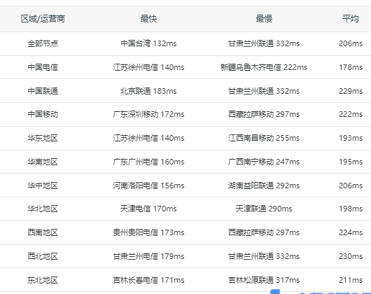
丢包率情况如下图,江苏和贵阳偏高,其它地区没有丢包或者相当低,总体来说在站长的可接受范围内,不知道大佬们怎么想了,反正MJJ们的要求是便宜稳定速度快三者齐全最好^_^:

三网回程线路如下,不出意外的当然是普通网络,电信163,移动CMI,联通4837,反正这价位是没有cn2,as9929什么的:

上下行情况,1Gbps带宽的效果果然是杠杠的:

本地下载速度如下,站长四川电信100M带宽,,wifi无线网络,当前时间2025-6-29 23:18:39:

流媒体解锁情况大致如下:

测评总结
cloudcone一向以性价比高,服务响应速度快、好,小鸡稳定著称,在便宜VPS领域中口碑数一数二,MJJ传言cloudcone掌握了某些母鸡超兽而不挂机的黑科技,但前几年一直被RackNerd稳压一头,原因之一就是cloudcone那万年不变的HDD硬盘。如今不仅硬盘和RackNerd一样都采用纯SSD,而且其他配置上也有提升,可以看到cloudcone被收购后,已经在开始出招了,改变还是很明显的。
当然要说到网络的话,那两家的网络都是一样,非常普通的网络。便宜vps嘛,不可能给你上高贵的CN2。总之,在低价VPS市场里,cloudcone和RackNerd的竞争正在加剧,且看RackNerd有没有应对策略吧。目前这个机器,VPSTOP只能一个字评论:香,真的感觉香。
原创文章,作者:全球vps测评资讯,如若转载,请注明出处:https://marisaario.net/250.html